图片展示:

涡街流量外表广泛适用于石油、化工、冶金、热力、纺织、造纸等职业对过热蒸汽、饱满蒸汽、压缩空气和通常气体(氧气、氮气氢气、天然气、煤气等) 、水和液体(如:水、汽油、酒精、苯类等)的计量和操控.
1. 作业原理
在流体中设置非流线型旋涡发作体(阻流体),则从旋涡发作体两侧替换地发作两列有规矩的旋涡,这种旋涡称为卡曼涡街,如图(一)所示。

图(一)
旋涡列在旋涡发作体下流非对称地摆放。设旋涡的发作频率为f,被测介质来流的均匀速度为V,旋涡发作体迎流面宽度为d,表体通径为D,根据卡曼涡街原理,有如下联系式:
f=StV/d
公式(1)式中:
f-发作体一侧发作的卡门旋涡频率
St-斯特罗哈尔数(无量纲数)
V-流体的均匀流速
d-旋涡发作体的宽度
由此可见,经过丈量卡门涡街别离频率便可算出瞬时流量。其间,斯特罗哈尔数(St)是无因次未知数,图(二)表明斯特罗哈尔数(St)与雷诺数(Re)的联系。

在曲线表中St=0.17的平直有些,漩涡的开释频率与流速成正比,即为涡街流量传感器丈量规模度。只要检测出频率f就能够求得管内流体的流速,由流速V求出体积流量。所测得的脉冲数与体积量之比,称为外表常数(K),见式(2)
K=N/Q(1/m³) 公式(2)
式中:K=外表常数(1/m³)。
N=脉冲个数
Q=体积流量(m³)

涡街流量计首要技术指标 表(一)
|
公称通径(mm) |
15,20,25,32,40,50,65,80,100,125,150,200,250,300,(300~1000刺进式) |
|
公称压力(MPa) |
DN15-DN200 4.0(>4.0协议供货),DN250-DN300 1.6(>1.6协议供货) |
|
介质温度(℃) |
压电式:-40~260,-40~320;电容式: -40~300, -40~400,-40~450(协议订购) |
|
本体资料 |
1Cr18Ni9Ti,(其它资料协议供货) |
|
允许振荡加速度 |
压电式:0.2g 电容式:1.0~2.0g |
|
精确度 |
±1%R,±1.5%R,±1FS;刺进式:±2.0%R,±2.0%FS |
|
规模度 |
1:6~1:30 |
|
供电电压 |
传感器:+12V DC,+24V DC;变送器:+12V DC ,+24V DC;电池供电型:3.6V电池 |
|
输出信号 |
方波脉冲(不包括电池供电型):高电平≥5V,低电平≤1V;电流:4~20mA |
|
压力丢失系数 |
契合JB/T9249规范 Cd≤2.4 |
|
防爆标志 |
本安型:ExdⅡia CT2-T5隔爆型:ExdⅡCT2-T5 |
|
防护等级 |
普通型IP65 潜水型 IP68 |
|
环境条件 |
温度-20℃~55℃,相对湿度5%~90%,大气压力86~106kPa |
|
适用介质 |
气体、液体、蒸汽 |
|
传输间隔 |
三线制脉冲输出型:≤300m,两线制规范电流输出型 (4~20mA):负载电阻≤750Ω |
常用气体介质的规范状态密度(0℃,绝压P=0.1MPa)
|
气体称号 |
密度(kg/m3) |
气体称号 |
密度(kg/m3) |
|
空气(干) |
1.2928 |
乙炔 |
1.1717 |
|
氮气 |
1.2506 |
乙烯 |
1.2604 |
|
氧气 |
1.4289 |
丙烯 |
1.9140 |
|
氩气 |
1.7840 |
甲烷 |
0.7167 |
|
氖气 |
0.9000 |
乙烷 |
1.3567 |
|
氨气 |
0.7710 |
丙烷 |
2.0050 |
|
氢气 |
0.08988 |
丁烷 |
2.7030 |
|
一氧化碳 |
1.97704 |
天然气 |
0.8280 |
|
二氧化碳 |
1.3401 |
煤制气 |
0.8020 |
涡街流量计流量规模
参比条件下涡街流量传感器工况流量规模表
|
外表口径 (mm) |
液体 |
气体 |
|
丈量规模 (m3/h) |
输出频率规模 (Hz) |
丈量规模 (m3/h) |
输出频率规模 (Hz) |
|
15 |
0.3-6 |
10 |
2.8-12 |
60 |
|
20 |
0.6-12 |
10 |
5-42 |
60 |
|
25 |
1.2~16 |
25~336 |
8.8~55 |
190~1140 |
|
40 |
2~40 |
10~200 |
27~205 |
140~1040 |
|
50 |
3~60 |
8~160 |
35~380 |
94~1020 |
|
80 |
6.5~130 |
4.1~82 |
86~1100 |
55~690 |
|
100 |
15~220 |
4.7~69 |
133~1700 |
42~536 |
|
150 |
30~450 |
2.8~43 |
347~4000 |
33~380 |
|
200 |
45~800 |
2~31 |
560~8000 |
22~315 |
|
250 |
65~1250 |
1.5~25 |
890~11000 |
18~221 |
|
300 |
95~2000 |
1.2~24 |
1360~18000 |
16~213 |
|
(300) |
100~1500 |
5.5~87 |
1560~15600 |
85~880 |
|
(400) |
180~3000 |
5.6~87 |
2750~27000 |
85~880 |
|
(500) |
300~4500 |
5.6~88 |
4300~43000 |
85~880 |
|
(600) |
450~6500 |
5.7~89 |
6100~61000 |
85~880 |
|
(800) |
750~10000 |
5.7~88 |
11000~110000 |
85~880 |
|
(1000) |
1200~17000 |
5.8~88 |
17000~170000 |
85~880 |
|
>(1000) |
协议 |
|
协议 |
|
外表的设备规划
外表的准确设备是确保外表正常运转的重要环节,若设备不妥,轻则影响外表的运用精度,重则会影响外表的运用寿命,甚至会损坏外表。
设备环境需求:
1. 尽可能避开强电设备、高频设备、强开关电源设备。外表的供电电源尽可能与这些设备别离。
2. 避开高温热源和辐射源的直接影响。若有必要设备,须有隔热通风办法。
3. 避开高湿环境和强腐蚀气体环境。若有必要设备,须有通风办法。
4. 涡街流量外表应尽量避免设备在振荡较强的管道上。若有必要设备,须在其上下流2D处加设管道紧固设备,并加防振垫,加强抗振作用。
5. 外表最佳设备在室内,设备在室外应留意防水,特别留意在电气接口处应将电缆线弯成U形,避免水顺着电缆线进入放大器壳内。
6. 外表设备点周围应当留有较富余的空间,以便设备接线和定时保护。
· 外表管道设备需求:
1. 涡街流量外表对设备点的上下流直管段有必定需求,否则会影响介质在管道中的流场,影响外表的丈量精度。外表的上下流直管段长度需求见图(三)
DN为外表工称口径 单位:mm
|
传感器上游 管道型式 |
前后直管段长度 |
传感器上游 管道型式 |
前后直管段长度 |
|
同心收缩 全开阀门 |

|
一个90度 弯头 |

|
|
同一平面两 个90度弯头 |

|
不一样平面两 个90度弯头 |

|
|
同心扩管 |

|
调理阀半开 阀门(不引荐) |

|
图(三)
注:调理阀尽可能不设备在涡街流量外表的上游,而应设备在涡街流量外表的下流10D处。
2. 上、下流配管内径应一样。如有区别,则配管内径Dp与涡街外表表体内径Db,应满意以下联系
0.98Db≤Dp≤1.05Db
上、下流配管应与流量外表表体内径同心,它们之间的不一样轴度应小于0.05Db
3. 外表与法兰之间的密封垫,在设备时不能凸入管内,其内径应比表体内径大1-2mm
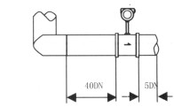
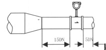
4. 测压孔和测温孔的设备规划。被测管道需求设备温度和压力变送器时,测压孔应设置在下流3-5D处,测温孔应设置在下流6-8D处,见图(七)。D为外表工称口径,单位:mm
5. 外表在在管道上能够水平、笔直或歪斜设备。
6. 丈量气体时,在笔直管道设备外表,气体流向不限。但若管道内含少数液体,为了避免液体进入外表丈量管,气流应自下而上活动,如图(四)a所示
7. 丈量液体时,为了确保管内充满液体,所以在笔直或歪斜管道设备外表时,应当确保液体活动方向从下而上。若管道内含少数气体,为了避免气体进入外表丈量管,外表应设备在管线的较低处
如图(四)b所示

图(四)
8. 丈量高温、低温介质时,应留意保温办法。转换器内部(表头壳体内)高温通常不该超过70℃;低温易使转换器内部出现凝露,下降印制电路板的绝缘阻抗,影响外表正常作业。

刺进式涡街流量外表设备过程:
1. 在管道上用气焊开一个略小于φ100mm的圆孔,并把圆孔周围毛刺铲除洁净,以确保测头旋转流利
2. 在管道圆孔处焊上厂家供给的法兰,需求法兰轴线与管道轴线笔直。
3. 将球阀及传感器设备在焊接好的发兰上。
4. 调理丝杠,使刺进深度契合需求(确保测头中心轴线和管道中心轴线重合),流体流向有必要与方向标上的指示箭头保持一致。
5. 均匀拧紧压盖上的螺丝。(注:压盖的松紧程度决议外表的密封程度和丝杠能否旋动)
6. 检查各环节是不是完成好,渐渐翻开阀门调查是不是有走漏(需特别留意人身安全)若有走漏请重复过程5、6。
涡街流量计加双抵偿设备图

订购须知及选型样谱
一.敬重的用户,当您要选用本公司商品时,请仔细阅读选型样本,并做好以下作业:
1.仔细核对被测介质的工况条件:温度、压力、管径等技术参数。
2.仔细核对被测介质的运用流量规模,特别是最小流量值以最终断定运用外表的口径及配管参数。