全国高端经纪人联系方式_全国空降经纪人电话_全国高端模特微信群_全国喝茶品茶qq

您好,欢迎光临智能仪表专业厂家——"泰仪"官方网站!
设为首页 | 收藏本站 | 在线留言 | 联系
网站首页 走进泰仪 产品展示 新闻中心 资质认证 人才招聘 企业地图 在线留言 联系泰仪
热门关键词:电磁流量计 涡街流量计 涡轮流量计 孔板流量计 磁翻板液位计 变送器 液位开关 产品搜索:  
联系

泰州泰仪自动化有限公司
电 话:0523-82295988
传 真:0523-86915528
联系人:13814473028(于经理)
E-mail:sales@jshuyi.com
地址:江苏省泰州市共建8号
 
当前位置:首页 >> 产品中心 >> 智能涡街流量计
智能涡街流量计
 

基础脉冲涡街流量计

 

图片展示:

涡街流量外表广泛适用于石油、化工、冶金、热力、纺织、造纸等职业对过热蒸汽、饱满蒸汽、压缩空气和通常气体(氧气、氮气氢气、天然气、煤气等) 、水和液体(如:水、汽油、酒精、苯类等)的计量和操控.

1. 作业原理

在流体中设置非流线型旋涡发作体(阻流体),则从旋涡发作体两侧替换地发作两列有规矩的旋涡,这种旋涡称为卡曼涡街,如图(一)所示。

                                 图(一)
旋涡列在旋涡发作体下流非对称地摆放。设旋涡的发作频率为f,被测介质来流的均匀速度为V,旋涡发作体迎流面宽度为d,表体通径为D,根据卡曼涡街原理,有如下联系式:
  f=StV/d                  
公式(1)式中:
f-发作体一侧发作的卡门旋涡频率                           
  St-斯特罗哈尔数(无量纲数)
  V-流体的均匀流速
  d-旋涡发作体的宽度
由此可见,经过丈量卡门涡街别离频率便可算出瞬时流量。其间,斯特罗哈尔数(St)是无因次未知数,图(二)表明斯特罗哈尔数(St)与雷诺数(Re)的联系。


在曲线表中St=0.17的平直有些,漩涡的开释频率与流速成正比,即为涡街流量传感器丈量规模度。只要检测出频率f就能够求得管内流体的流速,由流速V求出体积流量。所测得的脉冲数与体积量之比,称为外表常数(K),见式(2)
                        K=N/Q(1/m³)              公式(2)
式中:K=外表常数(1/m³)。
N=脉冲个数
Q=体积流量(m³)

涡街流量计首要技术指标                                                     表(一) 

公称通径(mm)

15,20,25,32,40,50,65,80,100,125,150,200,250,300,(300~1000刺进式)

公称压力(MPa)

DN15-DN200 4.0(>4.0协议供货),DN250-DN300 1.6(>1.6协议供货)

介质温度(℃)

压电式:-40~260,-40~320;电容式: -40~300, -40~400,-40~450(协议订购)

本体资料

1Cr18Ni9Ti,(其它资料协议供货)

允许振荡加速度

压电式:0.2g      电容式:1.0~2.0g

精确度

±1%R,±1.5%R,±1FS;刺进式:±2.0%R,±2.0%FS

规模度

1:6~1:30

供电电压

传感器:+12V DC,+24V DC;变送器:+12V DC ,+24V DC;电池供电型:3.6V电池

输出信号

方波脉冲(不包括电池供电型):高电平≥5V,低电平≤1V;电流:4~20mA

压力丢失系数

契合JB/T9249规范 Cd≤2.4

防爆标志

本安型:ExdⅡia CT2-T5隔爆型:ExdⅡCT2-T5     

防护等级

普通型IP65     潜水型 IP68

环境条件

温度-20℃~55℃,相对湿度5%~90%,大气压力86~106kPa

适用介质

气体、液体、蒸汽

传输间隔

三线制脉冲输出型:≤300m,两线制规范电流输出型 (4~20mA):负载电阻≤750Ω


常用气体介质的规范状态密度(0℃,绝压P=0.1MPa)

气体称号

密度(kg/m3)

气体称号

密度(kg/m3)

空气(干)

1.2928

乙炔

1.1717

氮气

1.2506

乙烯

1.2604

氧气

1.4289

丙烯

1.9140

氩气

1.7840

甲烷

0.7167

氖气

0.9000

乙烷

1.3567

氨气

0.7710

丙烷

2.0050

氢气

0.08988

丁烷

2.7030

一氧化碳

1.97704

天然气

0.8280

二氧化碳

1.3401

煤制气

0.8020


涡街流量计流量规模
参比条件下涡街流量传感器工况流量规模表

外表口径
(mm)

液体

气体

丈量规模
(m3/h)

输出频率规模
(Hz)

丈量规模
(m3/h)

输出频率规模
(Hz)

15

0.3-6

10

2.8-12

60

20

0.6-12

10

5-42

60

25

1.2~16

25~336
 

8.8~55

190~1140

40

2~40

10~200

27~205

140~1040

50

3~60

8~160

35~380

94~1020

80

6.5~130

4.1~82

86~1100

55~690

100

15~220

4.7~69

133~1700

42~536

150

30~450

2.8~43

347~4000

33~380

200

45~800

2~31

560~8000

22~315

250

65~1250

1.5~25

890~11000

18~221

300

95~2000

1.2~24

1360~18000

16~213

(300)

100~1500

5.5~87
 

1560~15600

85~880

(400)

180~3000

5.6~87

2750~27000

85~880

(500)

300~4500

5.6~88

4300~43000

85~880

(600)

450~6500

5.7~89

6100~61000

85~880

(800)

750~10000

5.7~88

11000~110000

85~880

(1000)

1200~17000

5.8~88

17000~170000

85~880

>(1000)

协议

 

协议

 


外表的设备规划
    外表的准确设备是确保外表正常运转的重要环节,若设备不妥,轻则影响外表的运用精度,重则会影响外表的运用寿命,甚至会损坏外表。
设备环境需求:

1. 尽可能避开强电设备、高频设备、强开关电源设备。外表的供电电源尽可能与这些设备别离。 

2. 避开高温热源和辐射源的直接影响。若有必要设备,须有隔热通风办法。 

3. 避开高湿环境和强腐蚀气体环境。若有必要设备,须有通风办法。 

4. 涡街流量外表应尽量避免设备在振荡较强的管道上。若有必要设备,须在其上下流2D处加设管道紧固设备,并加防振垫,加强抗振作用。 

5. 外表最佳设备在室内,设备在室外应留意防水,特别留意在电气接口处应将电缆线弯成U形,避免水顺着电缆线进入放大器壳内。 

6. 外表设备点周围应当留有较富余的空间,以便设备接线和定时保护。

· 外表管道设备需求: 

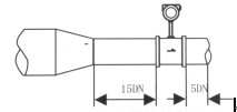
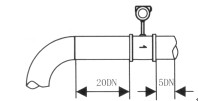
1. 涡街流量外表对设备点的上下流直管段有必定需求,否则会影响介质在管道中的流场,影响外表的丈量精度。外表的上下流直管段长度需求见图(三) 

DN为外表工称口径                                                                                                                                                     单位:mm

传感器上游
管道型式

前后直管段长度

传感器上游
管道型式

前后直管段长度

同心收缩
全开阀门

一个90度
弯头

同一平面两
个90度弯头

不一样平面两
个90度弯头

同心扩管

调理阀半开
阀门(不引荐)

 

                                                                                                               图(三)
注:调理阀尽可能不设备在涡街流量外表的上游,而应设备在涡街流量外表的下流10D处。
2. 上、下流配管内径应一样。如有区别,则配管内径Dp与涡街外表表体内径Db,应满意以下联系
0.98Db≤Dp≤1.05Db
         上、下流配管应与流量外表表体内径同心,它们之间的不一样轴度应小于0.05Db
3. 外表与法兰之间的密封垫,在设备时不能凸入管内,其内径应比表体内径大1-2mm
4. 测压孔和测温孔的设备规划。被测管道需求设备温度和压力变送器时,测压孔应设置在下流3-5D处,测温孔应设置在下流6-8D处,见图(七)。D为外表工称口径,单位:mm
5. 外表在在管道上能够水平、笔直或歪斜设备。
6. 丈量气体时,在笔直管道设备外表,气体流向不限。但若管道内含少数液体,为了避免液体进入外表丈量管,气流应自下而上活动,如图(四)a所示
7. 丈量液体时,为了确保管内充满液体,所以在笔直或歪斜管道设备外表时,应当确保液体活动方向从下而上。若管道内含少数气体,为了避免气体进入外表丈量管,外表应设备在管线的较低处
如图(四)b所示

     图(四)
8. 丈量高温、低温介质时,应留意保温办法。转换器内部(表头壳体内)高温通常不该超过70℃;低温易使转换器内部出现凝露,下降印制电路板的绝缘阻抗,影响外表正常作业。





刺进式涡街流量外表设备过程:
1. 在管道上用气焊开一个略小于φ100mm的圆孔,并把圆孔周围毛刺铲除洁净,以确保测头旋转流利
2. 在管道圆孔处焊上厂家供给的法兰,需求法兰轴线与管道轴线笔直。
3. 将球阀及传感器设备在焊接好的发兰上。
4. 调理丝杠,使刺进深度契合需求(确保测头中心轴线和管道中心轴线重合),流体流向有必要与方向标上的指示箭头保持一致。
5. 均匀拧紧压盖上的螺丝。(注:压盖的松紧程度决议外表的密封程度和丝杠能否旋动)
6. 检查各环节是不是完成好,渐渐翻开阀门调查是不是有走漏(需特别留意人身安全)若有走漏请重复过程5、6。

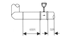
涡街流量计加双抵偿设备图

订购须知及选型样谱
一.敬重的用户,当您要选用本公司商品时,请仔细阅读选型样本,并做好以下作业:
    1.仔细核对被测介质的工况条件:温度、压力、管径等技术参数。
    2.仔细核对被测介质的运用流量规模,特别是最小流量值以最终断定运用外表的口径及配管参数。 

 

 

 

 

走进 | 产品展示 | 新闻中心 | 荣誉资质 | 服务中心 | 联系我们 | 后台管理
Copyright © jshuyi.com All Rights Reserved.江苏泰仪自动化有限公司 版权所有 苏ICP备15016952号
客服热线:0523-82295988 售后服务:13814473028 传真:0523-86915528
地址:江苏省泰州市共建8号
主站蜘蛛池模板: 繁昌县| 恩平市| 盘山县| 淮南市| 南汇区| 德清县| 临泽县| 长宁区| 洪湖市| 平利县| 苏尼特左旗| 斗六市| 台湾省| 杭州市| 石首市| 山阴县| 札达县| 九江市| 固安县| 台中县| 全椒县| 大庆市| 遵义县| 利川市| 太原市| 宝坻区| 五大连池市| 霍林郭勒市| 江北区| 集贤县| 府谷县| 万年县| 鸡泽县| 乌海市| 临沭县| 榆社县| 乌鲁木齐县| 宜宾市| 桃源县| 海口市| 玉树县|